微信
鄂城区人民法院
首页
新闻中心
法院介绍
审务公开
通知公告
诉讼指南
理论研究
法院文化
当前位置:
首页
>
通知公告
>
通知公告
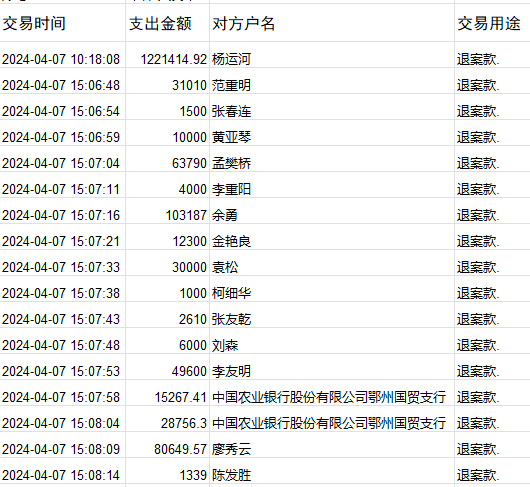
退费情况20240407
时间: 2024-04-07 16:49
来源: 财务室
【打印此页】
【关闭窗口】